What is a Labeling Machine: How It Works, Types, and Benefits
Share
Every product we see on store shelves carries a label that tells us its brand, contents, and other vital details. A labeling machine makes this task possible. In this article, we will explain what a labeling machine is, describe the different kinds available, benefits of using them, and explore the many ways businesses rely on these machines.
Why Labels Matter?
Labels serve more than one purpose. They identify the product by brand, provide usage instructions, display ingredients or materials, and offer safety warnings when needed. Labels also include dates, batch numbers, and tracing codes that let companies track individual items or groups of items through distribution. When brands use attractive and accurate labels, they improve both product visibility and consumer trust.

What is a Labeling Machine?
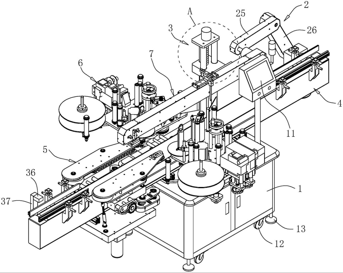
Labeling machine prints, peels, and places labels on products or their containers. The machine can work with labels that carry text, images, barcodes, 2D codes, or even simple date stamps. In most factories, the machine fits into a conveyor line that moves items past the labeling station. The machine reads each product as it arrives, prints or fetches the right label, and applies it in one smooth step. Users find machines in food plants, drug makers, chemical plants, electronics shops, and many more sites.
Every labeling machine has sensors and guiding parts that keep the label and product in the correct spots. If a device prints its own labels, it has a small printer module. If it only applies pre-printed labels, it has a label roll feeder and release system. In every case, the machine joins the printing and applying actions—sometimes in separate modules, sometimes in a single head—to speed up labeling and cut the chance of errors.
How Labeling Machines Work
No matter what kind you pick, every labeling machine follows a few basic steps:
- Loading the Label Material: A roll or sheet of blank or pre-printed labels feeds into the machine. If printing comes first, the printer prints each label on demand.
- Detecting the Product: Sensors, photocells, or cameras spot when an item arrives at the labeling spot. They tell the machine to get the next label ready.
- Cutting and Peeling: The machine cuts the label away from its backing liner. It peels off the liner so that the sticky side of the label shows.
- Positioning: Mechanical guides or air jets hold the product and the label head in the right place. Timing here matters for neat, wrinkle-free application.
- Applying the Label: The system presses the label onto the container. It may use rollers, air bursts, or tampers to smooth the label down.
- Takeaway: After application, the machine moves the labeled item out. The process repeats with the next product.
These steps change slightly depending on the machine’s style, the type of product, and the type of label.
Key Benefits of Labeling Machines
A labeling machine can bring clear gains:
- Machines work faster than people, cutting the time you spend on labeling.
- The machine puts each label in the same spot, avoiding crooked or wrinkled labels.
- Fewer operators needed; one person can run a whole line.
- Precise cuts and placements reduce wasted labels or rework.
- Print-and-apply machines let you change label data on the fly.
- Integration with barcoding and serializing systems supports full tracking.
- Vision cameras and sensors catch missing or bad labels right away.
Main Types of Labeling Machines
Label applicators serve as the heart of automatic labeling machines. They peel labels from backing liners and attach them to products using various dispensing methods. The following sections describe the most common types of labeling machines .
1. Label Applicators
Label applicators stick pre-printed adhesive labels onto products or packages. Companies use these machines to place simple barcode stickers, logos, or instruction labels. Label applicators can handle flat surfaces, curved bottles, or even irregular shapes.
• Air-Blow Applicators
An air-blow applicator does not touch the product at all. A vacuum holds the label until the machine senses the product nearby. Then, compressed air pushes the label onto the product surface. This method prevents any chance of scratching or damaging delicate finishes, making it perfect for electronics, cosmetics, and medical devices.
• Tamp-Blow Applicators
A tamp-blow applicator mixes the tamp method with an air blast. First, the machine’s vacuum holds the label on the tamp pad. Next, the pad moves close to the product without touching it. At the precise moment, a puff of air transfers the label onto the product. This non-contact step produces very clean edges, even on curved or textured containers.
• Wipe-On Applicators
These machines press labels onto items with a rolling or brushing action. The conveyor may stop momentarily to ensure that the label applies without wrinkles or misalignment. Wipe-on applicators offer simple, reliable performance for flat surfaces such as cartons, boxes, and cases.
• Tamp Applicators
A tamp applicator uses a padded pad (called a tamp pad) to make direct contact with the product. The pad picks up the label, then presses it against an uneven or rough surface. Companies often use tamp applicators for containers that need a firm seal, such as jars and adhesive bottles.
2. Print-and-Apply Labeling Machine
Print-and-apply labelers combine a printer and an applicator in one unit. They print labels on demand Print-and-apply labelers merge printing and application into a single automated unit. These machines feed label stock through a printing engine—often thermal transfer,direct thermal, or inkjet—and then immediately apply the fresh label to the product. The main advantages include:
-
On-Demand Printing
Operators can change text, barcodes, and graphics instantly, without pausing the line or changing printing plates. -
Reduced Inventory
Companies only stock blank label rolls and let the machine produce the correct label as needed. -
Dynamic Variable Data
Machines handle date codes, batch numbers, and serialized barcodes automatically, reducing manual intervention.
Print-and-apply labelers support a full range of dispensing methods (wipe-on, tamp, air-blow) and can apply labels to the top, bottom, sides, or corners of products. Businesses that need frequent label updates—such as food producers facing rotating promotions—often choose these systems.

3. Automatic Setups
Labeling machines come in two main styles: semi-automatic and fully automatic.
• Semi-Automatic Labeling Machines
A semi-automatic labeling machine needs an operator to place items in the right spot and trigger the label application. The machine handles everything else, such as cutting the label to size, peeling it off its backing paper, and sticking it on the product. The worker then removes the labeled item and loads the next one. This style suits small businesses or labs that run a few dozen items each hour. It cuts down on hand work while staying affordable. Users get a simple interface, basic safety guards, and enough speed for low- to medium-volume needs.
• Fully Automatic Labeling Machines
A fully automatic labeling machine links to a conveyor belt or production line. The conveyor moves products into the labeling zone, where sensors detect each item. The system prints and places labels without human help. After labeling, the machine pushes products forward or spots them for the next station. The system can handle hundreds or thousands of units per hour, with tight control on label position and consistency. Producers with large batches rely on this style to keep lines moving and to hit strict quality standards.
4. Integrated Labeling Machine Systems
Labeling systems are complete assemblies that integrate multiple applicators, printers, and product handling equipment. They serve complex production lines with multi-sided labeling needs or high throughputs. Major system types include:
• Front-and-Back Labeling Systems
In a front-and-back system, two labeling heads sit opposite each other on the conveyor. One head applies the front label; the other applies the back. Cylindrical products pass between rollers to wrap the label smoothly. These systems work well on bottles, tubes, and jars that need labels on both sides.
• Top-and-Bottom Labeling Systems
Top-and-bottom systems place labels on a product’s top and bottom surfaces. Labeling heads above and below the conveyor handle each side. Rollers or brushes adjust to fit boxes, cartons, clamshells, or tubs. Wash-down versions in stainless steel housings endure wet plant conditions.
• Wrap-Around Labeling Systems
Wrap-around units spin cylindrical containers as they pass the applicator head. The label wraps around the side and meets at an even seam. These machines often include a wiper roller to smooth out the label after application. Beverage and canned-food makers use wrap-around systems to cover bottles and cans completely.
• Rotary Labeling Systems
A rotary system places products on a spinning carousel. Each product sits in a pocket and rotates as it reaches the labeling head. The carousel design allows the machine to label multiple sides quickly in one pass. Cleanroom or sterile-area versions work for medicine or biotech products.
• Vial Labeling Systems
Vial labeling systems apply wrap-around labels on small glass or plastic vials. Pharmaceutical firms use these to add batch codes, ingredient lists, and safety warnings. Vial systems load, spin, label, and unload hundreds of vials per minute, meeting strict medicine safety rules.
How to Choose the Right Labeling Machine
When you consider a labeling machine, think about these points:
- Speed Needs: How many items must the machine label per minute or hour?
- Size Range: Does it handle small tubes and large boxes on the same line?
- Label Types: Will you use pressure-sensitive paper labels, film labels, or direct-mark methods?
- Product Shape: Are your products flat, round, uneven, or square?
- Automation: Do you need a stand-alone table-top unit or a fully inline system that links to other gear?
- Changeover Time: How fast can you switch label rolls, apply new designs, or shift to a different product size?
- Integration: Will the machine talk to your ERP, scanners, vision systems, or printers?
- Environment: Do you need a washdown-rated frame for wet areas or a stainless steel enclosure for dusty food lines?
By matching these needs with machine features, you can streamline your labeling process, lower waste, and improve traceability.

Common Applications of Labeling Machines
Labeling machines show up in many areas:
- Food and Beverage: Bottles, cans, jars, trays, and cartons.
- Pharmaceuticals: Vials, syringes, cartons, and blisters with strict code and batch information.
- Cosmetics: Tubes, bottles, jars, and gift sets where presentation matters.
- Chemicals: Drums, pails, and bottles that need hazard symbols and barcodes.
- Electronics: Boxes and cases that carry serial numbers and safety labels.
- Logistics: Shipping cases, pallets, and bundles in warehouses.
Each field has rules for label content, material, and placement, so machines often include special options for compliance.
How to Install and Maintain the Labeling Machine?
Proper installation ensures that a labeling machine delivers reliable performance. Specialists typically set up the equipment, integrate it with existing conveyors, and calibrate sensors for accuracy. Regular maintenance—such as cleaning print heads, replacing worn pads, and checking air pressure—keeps downtime to a minimum. Many manufacturers offer service contracts to perform preventive maintenance and software updates.
Labeling for Case Packing and Aggregation
Modern supply chains require more than just labeling individual products. Aggregation involves linking “child” packs (such as individual bottles) to “parent” packs (like cartons or pallets). Labeling machines for case packing and aggregation integrate with barcode scanners and vision systems to record every item’s serial number. After scanning, the machine prints and applies a case label showing the list of contained items. This process speeds up traceability during recalls and reduces errors in distribution.
AUTmachine – Your Trusted Labeling Machine Manufacturer
Looking for reliable and efficient labeling machines? AUTmachine is your trusted labeling machine manufacturer, dedicated to providing high-quality, customizable solutions that meet your production needs. Whether you require semi-automatic or fully automated systems, AUTmachine delivers precision, speed, and durability to help your business grow.
Contact Patno&Kiz today to discover how our labeling technology can streamline your packaging process and elevate your brand.
Conclusion
A labeling machine turns a once-time-consuming, error-prone task into a fast, reliable, and traceable process. Whether you need to apply simple pressure-sensitive labels or print and wrap custom codes around vials, there is a machine built for your products, speeds, and budget.
By understanding the types of applicators, how they work, and the range of integrated systems, you can pick a solution that boosts your productivity, cuts down mistakes, and keeps you compliant with industry rules. The right labeling machine is an investment that pays off in quality, efficiency, and peace of mind.
FAQ
A labeling machine automatically applies labels to products, containers, packages, or pallets. Depending on the type, it may also print information like barcodes, batch numbers, or expiration dates directly onto the label before applying it.
A label machine is commonly referred to as a labeling machine or label applicator. If it prints and applies labels in one process, it’s often called a print-and-apply labeler. In consumer settings, smaller handheld versions are usually called label makers.
A label maker is a compact device—often handheld or desktop-sized—used to create adhesive labels on demand. Unlike industrial labeling machines, label makers are typically used for small-scale or office labeling tasks, such as organizing files, storage bins, cables, or personal belongings.
Labeling machines can apply pressure-sensitive labels, wrap-around labels, front and back labels, top and bottom labels, and even print-and-apply labels with variable data like barcodes and expiration dates.
Semi-automatic machines require operator assistance to load or trigger the labeling process, while automatic machines handle labeling continuously with minimal human input, often integrated with conveyor systems.